Warning: json_decode() expects parameter 1 to be string, array given in /home/c2020787/public_html/index.php on line 242 Siwo
Producto
VÁLVULA MARIPOSA TIPO WAFER - MODELO METAL-METAL
Cierre metal-metal, estanco, no hermético, para temperatura elevada.

Para montar entre bridas ANSI 16,5 Serie 150-300-DIN PN 10-150 10 y AWWA Presión de trabajo 10,5 Kg/cm² - 150 psi

DETALLES Y CUALIDADES

• Las dimensiones y tolerancias condicionan intercambiabilidad de todas sus partes.

• Apropiadas para gases, líquidos y sólidos.

El control de la calidad se realiza a la totalidad de la producción según normas internacionales.

Accionamiento manual, neumático, hidráulico o electromecánico. 

MM DE 1¼" A 32"
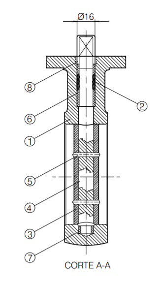
ITEM
DENOMINACION
CANTIDAD
1
Cuerpo
1
3
Obturador
1
4
Vástago
1
5
Pasador cónico
2/3
6
Buje superior
1
7
Buje inferior
1
8
Arosello
1
9
Arosello
1