Warning: json_decode() expects parameter 1 to be string, array given in /home/c2020787/public_html/index.php on line 242 Siwo
Producto
VALVULA DE RETENCION DUO CHECK
Tipo Wafer. Cuerpo compacto de fácil instalación y mantenimiento

De dirección única, de cierre rápido, presión de trabajo 16 Kg./ Cm.² Apta para instalar horizontal ó vertical.


DETALLES Y CUALIDADES

• Construcción: API 594

• Clase de Presión: 150 lbs.

• Instalación entre bridas: ANSI, DIN, AWWA y otros.

• Cuerpo compacto y liviano, fácil instalación y mantenimiento.

• Asientos de elastómero en el cuerpo, proporcionan hermeticidad total y larga vida útil.

Materiales Estandar de Fabricación

-ASTM A 126

-Gr. B ASTM A216

-Gr WCB ASTM A351

-Gr. CF8M

-SAE 1010 / 1020

-ASTM A216 Gr WCB

-ASTM A351 Gr. CF8M

-ASTM A351 Gr. CF8

-Bronce y aleaciones

-AISI

-304 AISI

-316

-Buna N

-EPDM

-Silicona Hypalon

-Viton

-Neopreno 

-Metal / Metal 

-Otros elastómeros con composiciones especiales bajo consulta.

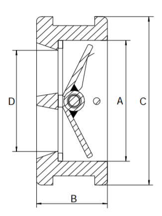
DN
DN(mm)
A
B
C
D
PESO Aprox. Kg.
2"
50
67
44
101
45
1,600
2½"
65
80
55
121
55
2,800
3"
80
94
57
134
68
3,400
4"
100
112
65
171
85
4,800
5"
125
146
71
190
116
5,900
6"
150
172
75
215
135
8,800
8"
200
226
89,5
278
180
15,400
10"
250
265
107,5
338
220
26,900
12"
300
313
143,5
408
267
46,700