Warning: json_decode() expects parameter 1 to be string, array given in /home/c2020787/public_html/index.php on line 242
• Cuerpo bridado, con obturador y eje desplazados, junta tórica en el cuerpo o en el obturador.
• Apta para colocar entre bridas ANSI B16.5 serie 125/150, DIN 10, ISO 10, AWWA clase B/D.
• Presión de trabajo hasta 10,5 kg./cm² (150 psi).
• Control de estanqueidad y hermeticidad (100%), realizados en nuestros bancos de prueba según normas AWWA C-504-80 y O.S.N.2507 - 85 Rev.1.
MATERIALES CONSTITUTIVOS:
Ya que nuestro principal objetivo es
dar servicio, nuestras válvulas son fabricadas de
acuerdo a las necesidades de cada cliente , para lo
cual nos manejamos dentro de una amplia gama de
materiales constitutivos y sus diferentes calidades.
En este detalle radica la importancia de nuestro trato
personalizado y la cantidad de preguntas técnicas
que realizamos antes de cada operación
- Fundición Gris ASTM A 126 Gr. B
- Acero al Carbono ASTM A 216 Gr. WCB
- Fundición Nodular ASTM A 536 Gr. 65-45-12
- Acero Inoxidable AISI 304
- Aluminio ASTM B26ZC81A
- Acero Inoxidable AISI 304/316
- Bronce - Aluminio ASTM b 148 Aleac. 952
- Fundición Nodular ASTM A 536 Gr. 65-45-12
- Acero Inoxidable AISI 420/304/316
- Buna “N” (Temp. 0º a 100º C)
- EPDM (Temp. -20º a 120º C)
- Silicona (Temp. -20º a 160º C)
- Vitón (Temp. -20º a 180º C)
- EPDM al Peróxido (Temp. -20º a 150º C)
- Hypalón (Temp. -20º a 120º C)
- Neoprene (Temp. -10º a 100º C)
- Acetal
- Bronce
- PTFE
- Acero Inoxidable AISI 304/316
- Buna“N”
- Vitón
- Silicona
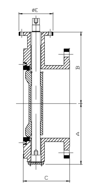
Ø | Ø | Ø EJE | A | B | C | E |
3" | 75 | 12.7 | 104 | 152 | 127 | 100 |
4" | 100 | 15.9 | 116 | 138 | 127 | 100 |
6" | 150 | 25.4 | 163 | 185 | 127 | 100 |
8" | 200 | 28.6 | 192 | 230 | 152.4 | 150 |
10" | 250 | 34.9 | 247 | 265 | 203.2 | 150 |
12" | 300 | 38.1 | 260 | 310 | 203.2 | 150 |
14" | 350 | 44.4 | 350 | 320 | 203 | 150 |
16" | 400 | 50.8 | 400 | 365 | 203 | 150 |
18" | 450 | 57.1 | 450 | 390 | 203 | 190 |
20" | 500 | 63.5 | 500 | 460 | 203 | 203 |
24" | 600 | 76.2 | 570 | 570 | 203 | 203 |
28" | 700 | 88.9 | 585 | 585 | 305 | 250 |
32" | 800 | 101.6 | 640 | 640 | 305 | 250 |
36" | 900 | 111.1 | 720 | 720 | 305 | 300 |
40" | 1000 | 120.6 | 826 | 826 | 305 | 340 |